Eye Doctor Arizona
Eye Surgery Arizona

  Zeiss IOLMaster®
Online Users Instruction Manual V.4
printable version
 
IOL Power Calculations IOL Power Calculations
Optical Biometry Optical Biometry
Lens Constants Lens Constants
Validation Guidelines
Haag Streit LENSTAR® Haag Streit LENSTAR
Zeiss IOLMaster® Zeiss IOLMaster
IOLMaster VIDEO Tutorial
IOLMaster Manual V.5 Cataract Surgery Arizona
IOLMaster Manual V.4
Quick Reference
Notes
Safety Instructions
Overview
Components
Setting Up
General Operation Cataract Surgery Arizona
Axial Length (ALM) Cataract Surgery Arizona
Keratometer Cataract Surgery Arizona
Anterior Chamber Depth Cataract Surgery Arizona
White-to-White
Silicone Oil
Service/Maintenance
Technical Specifications
Glossary
License Agreement
Zeiss Declaration
Trademarks
Copyright
IOL Master Manual Download IOLMaster Checklist (pdf)
IOL Master Manual Download IOLMaster Manual V.4 (pdf)
IOL Master Manual Download IOLMaster Manual V.3 (pdf)
SIA Calculator
Disclaimer
Physician Downloads SIA Calculator
Links
References
Special Thanks

Zeiss IOLMaster Customer Service: 1-877-486-7473 ext. 4030

IOLMaster — Setting Up.

The IOLMaster must be set up and commissioned by an authorized representative of Carl Zeiss; the latter will also instruct the users on the operation of the device. In general, Carl Zeiss Service will perform the following operations.

Installation:

  • Remove and unpack box containing accessories.
  • Carefully remove the device from the box (the device not should be lifted or carried by the measuring head).
  • Removing shipping braces:

    • Loosen device lock knob.
    • Basic securing: Turn joystick clockwise (one turn) to move the device upward and pull out the red plate underneath the base axis (patient side).
  • Remove red pads from the wheel housing of the device base.
Setting up the IOLMaster  

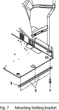
Secure with Holding Bracket

The IOLMaster is permanently secured with the aid of a holding bracket (3, Fig. 7). The holding brackets are provided in two sizes:

  • 7 mm thickness, for securing to the instrument table
  • 5.5 mm thickness, for securing to the keyboard support

The different sized holding brackets are both mounted in the same way. Make sure you use the correct holding bracket for each location.

Optical Coherence Biometry   IMPORTANT: Do not lift or carry the IOLMaster by the measuring head!

  • Tilt the IOLMaster to one side so that it rests on the patient head support.
  • Remove the three hexagon socket screws (SW3) (1, Fig 7). The screws may be very difficult to loosen.
Optical Coherence Biometry   IMPORTANT: Do not remove any other screws on the base plate!

Damage may otherwise be caused to the IOLMaster.

  • Attach the holding bracket with adhesive strips (2, Fig. 7) facing outwards.
  • Secure the holding bracket with the three hexagon socket screws. Do not yet remove the protective film from the adhesive strips.
  • Set the device upright and place it in the desired position.
  • Now lift/tilt the device slightly and remove the protective film (2, Fig. 7).
  • Bring the device carefully into the proposed position. The adhesive strips will hold immediately. The IOL Master can no longer be shifted once it has been brought into position!

Electrical Connection:

IOLMaster eletrical connection

  • Connect mouse and keyboard
  • Optional: Plug in and secure monitor (VGA) and interconnecting cable (NET/COM 1)!
  • Connect power cable.
  • Install printer as shown in Fig. 8 (to the right).

Optical Coherence Biometry   IMPORTANT: Use only printers recommended by Carl Zeiss Service.

Only one printer may be installed. De-install all surplus printer drivers using the menu Setup - Printers. Before using an older printer, enquire at Microsoft™ or the manufacturer whether it is compatible.

IOLMaster Operation   WARNING:

* When connecting an external device, e.g. PC, to a port or an external monitor to the VGA port, the operator must ensure that the safety requirements of IEC 60601-1-1 are observed (medical electrical systems).

A network isolator can be ordered from Carl Zeiss Service for connection to an external network (NET).

The IOLMaster may only be connected to private networks which are protected from public networks (Internet) by firewalls conforming to the latest technical standards.

When the IOLMaster is turned on at the power switch, it will run through an internal test. The IOL Master can be operated after this has completed successful.

Certain operating parameters are factory set and may be changed in the Setup Menu (see page 33 of the IOL Master Instruction Manual V.4).

 

IOLMaster electric connection

 

Switch On

  • Turn on the power switch (1, above). The IOL Master will start automatically and perform a self-test, after which the Patient Manager screen will appear (Fig. 25).

  • Then Check the Measurement Functions.

IOLMaster Help
TOP

Zeiss IOLMaster® Tutorial Version 4

Zeiss IOLMaster®

Optical Biometry

Intraocular Lens Power Calculations


East Valley Ophthalmology
5620 East Broadway Road
Mesa, Arizona 85206

Tel: +1-480-981-6111
FAX: +1-480-985-2426

Arizona's Top Eye Doctors - East Valley Ophthalmology provides this online information for educational and communication purposes only and it should not be construed as personal medical advice. Information published on this website is not intended to replace, supplant, or augment a consultation with an eye care professional regarding the viewer/user's own medical care. East Valley Ophthalmology's disclaims any and all liability for injury or other damages that could result from use of the information obtained from this site. Please read our full Terms, Privacy, Infringement

Eye Doctors for Mesa, Gilbert, Chandler, AZ and surrounding areas.

A few of our featured topics:


TOP

Copyright East Valley Ophthalmology. All rights reserved.